首页 安卓游戏 安卓软件 游戏专题 软件专题 攻略资讯 最新更新

您的位置1:首页 > 安卓软件 > 拍照摄影 > a站手机

a站手机安卓下载-a站手机软件下载
60%
40%

a站手机

  • 软件版本:V6.74.0.1300
  • 运行环境:Android
  • 软件大小:98.5MB
  • 所属类型:拍照摄影
  • 应用语言:简体中文
  • 更新时间:2025-10-04 09:39:12
  • 标签: 二次元弹幕软件 A站手机客户端 内容创作平台

A站手机APP是国内弹幕文化发源地A站官方发布的手机客户端,该客户端的数据内容和A站官网同步更新。其内容广泛,涵盖二次元动画、前沿科技、体育赛事、音乐影视、搞笑鬼畜等众多题材。并且,这里不仅有视频内容资源,还包含优质文章、热门游戏等资源,供大家浏览与畅玩。

作为中国大陆第一家弹幕视频网,A站手机APP的弹幕格式极为丰富,能充分满足不同用户的多样化需求。它支持发送字体样式各异、大小不同、颜色多样,且可在不同位置呈现的弹幕样式。不仅如此,用户在发送弹幕时,还能够对其他弹幕进行回复。此外,A站手机APP上的视频内容都能实现高速高清缓存,用户可将其缓存至手机,进行离线观看。

A站手机APP能为观看用户带来独特的视听感受,同时也为内容创作者开辟了广阔天地。尤其是A站UP主的申请与培养都能在手机端完成,还支持在手机上投稿、直播,进而获取收益,收益数据能实时展示且随时可提现。针对创作的内容,A站手机APP能够进行高效的分类管理,允许用户对已创作内容进行简易二次编辑,对于不合适的内容可在线删除,极大地方便了内容创作者的创作模式。有需求的用户可到本站下载使用。

应用特色

【弹幕文化发源地】

作为中国极富影响力的弹幕视频平台,它亦是全球率先上线的弹幕视频网站之一。从起初单纯的视频站点,逐步发展成当下的综合性弹幕视频网站,如今已然成为国内弹幕视频行业的领军品牌。

【宅文化聚集地】

AcFun自创立伊始,便秉持“天下漫友是一家”的宗旨,以“认真你就输了”作为文化导向,积极倡导轻松欢快的亚文化。在过去的几年里,它吸引了无数钟情宅文化的观众,还涌现出难以计数的知名原创视频创作者。这几年间,AcFun所推广的大量优秀视频作品,对众多宅文化爱好者产生了深刻影响并带来改变,其中大部分作品如今已成为网络经典。

【创作者家园】

为众多具备实力的内容创作者开辟广阔天地,让你能轻松成为A站up主,只需坚持投稿、持续直播,就能收获可观收益。

a站app文章区

用户打开app后,可以点击页面右上角的扩展图标(下图绿色箭头所指)

在打开的新页面中点击【文章区】即可进入文章区

里面有很多关于二次元、动漫话题的文章

还有游戏相关内容的文章

用户可以在这里进行发帖,与大家分享交流

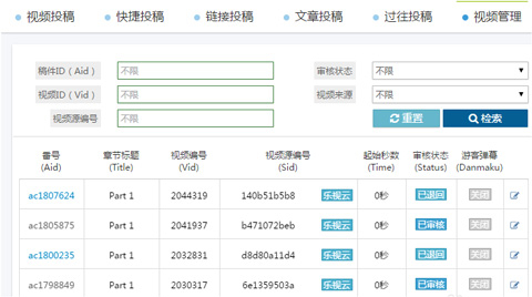
a站手机怎么分p投稿

可以在手机上下载乐视云app,然后把你要传的视频,传到乐视云

视频传输完成后,可打开视频管理界面。在此界面中,能看到自己上传的视频。通常情况下,视频需经过格式转换,才会生成一个AID,也就是AC号。

转换完成后,就能看到视频源编号 SID 。接着,就可以到连接投稿处进行投稿。这一步大家都很熟悉,在视频地址栏填写 SID ,视频源选择填写乐视源即可。视频分 P 数量可按需设置。

a站会员怎么开

1、用户打开a站手机app并登录,进入【我的】页面,点击如下图页面绿色区域中的【前往】

2、而后在打开的新页面中进行答题,答题通过后即可成为会员了

更新日志

v6.73.0.1297版本

修复了一些BUG。

v6.71.0.1293版本

祝你2024年新年快乐,龙年大吉!健康平安!年年好运来!

本次更新我们提升了产品的稳定性和安全性。

我们将定期推出更新,让AcFun变得更加完善。

v6.70.3.1290版本

本次更新我们提升了产品的稳定性和安全性。

我们将定期推出更新,让AcFun变得更加完善。

如果你喜欢本次更新,请在商店上给我们点个赞吧!您的五星好评是对我们的大大大的鼓励~

v6.70.0.1286版本

- 新番上线啦!快来一起追番吧~

展开全部

软件截图

  • a站手机图1
  • a站手机图2
  • a站手机图3
  • a站手机图4

Copyright © 2011-2025 www.86hud.com.闽ICP备2025100239号-2 白鹭互动游戏平台下载 版权所有